The official Florence Mailboxes 4c Mailbox Installation Manual can be found here. Download PDF for printable version.
INSTALLATION MANUAL

Front-Loading, Rear-Loading, Parcel-Only, Collection Box, Trash/Recycling Bin

GENERAL INFORMATION AND ADVISORIES
versatile™ 4C mailbox suites
CAUTION -- Transportation and Handling
- Florence 4C units are heavy. Use caution when lifting and carrying to avoid injury.
- Lay boxes flat. Do not stand on end as box could fall over and cause injury.
- Pinch hazard exists when placing the unit in the rough opening. Keep fingers and hands clear to avoid injury
CAUTION -- Installation
- Florence 4C units are heavy. Do not stand 4C units up without support to prevent tipping.
- Mailboxes may tip out of rough opening until secured, possibly resulting in the mailbox colliding with a person and causing serious injury.
- Florence 4C units are also front-heavy when the master doors are open. Units must be braced or held in place until secured to the framing. Installer should support unit or have assistance holding the unit in place before opening the master doors. Failure to do so could result in serious injury.
USPS INSTALLATION REQUIREMENTS
versatile™ 4C mailbox suites
- 1 At least one customer compartment shall be positioned less than 48" from the finished floor
- 2 No parcel locker compartment (interior bottom shelf) shall be positioned less than 15" from the finished floor.
- 3 No patron (tenant) lock shall be located more than 67" above the finished floor.
- 4 No customer compartment (interior bottom shelf) shall be positioned less than 28" from the finished floor.
- 5 The USPS Arrow lock shall be located between 36" and 48" above the finished floor.

COLLECTION BOX INSTALLATION GUIDELINES
versatile™ 4C mailbox suites
- 1 The hopper handle height is suggested to be no more than 48" from the finished floor.
- 2 No parcel locker compartment (interior bottom shelf) shall be positioned less than 15" from the finished floor.
- 3 Refer to local building codes and accessibility regulations to determine proper mounting requirements.

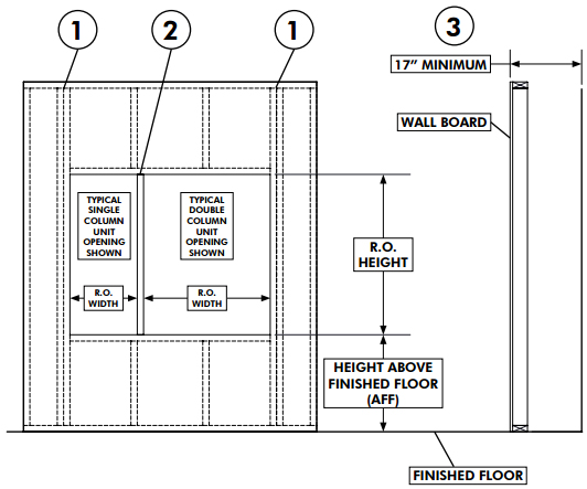
SUGGESTIONS FOR INDIVIDUAL INSTALLATION WALL CONSTRUCTION
versatile™ 4C mailbox suites
- 1 Wall mounting should consist of a lamination of two wood 2"x4" studs on the outer sides of the modules.
- 2 Florence versatile™ 4C mailbox suites feature trim designed to abut one another (no gap between modules) when a single stud is used between modules. (A Florence Multi-Unit Connector Kit can be used instead of the single stud between modules.)
- 3 The mounting wall must have a minimum depth of 17" to allow for recessed mounting of the Florence versatile™ 4C module
- 4Squareness and quality of wall mount opening is critical to obtain a secure and properly functioning Florence versatile™ 4C module.

REQUIRED TOOLS
versatile™ 4C mailbox suites
- Cordless driver/drill
- 3/8" Drill bit
- 3/8" Socket wrench or nut driver
- Phillips screwdriver
- Flat blade screwdriver
- 3/8" Drill bit
- 151P Torx+ screwdriver / bit
IMPORTANT NOTICE FOR USPS INSTALLERS
USPS personnel must have a McGard Screwdriver to install and service the Arrow lock cover on the Florence versatile" 4C mailbox suites.


HARDWARE LIST
versatile™ 4C mailbox suites


(Collection Box Module)

(Collection Box Module)

(Postal Arrow lock cover)




Quantities vary depending on versatile" 4C model.
HARDWARE LIST (cont.)
versatile™ 4C mailbox suites

Quantities vary depending on versatile" 4C model.
REAR-LOADING MODULE INSTALLATION
versatile™ 4C mailbox suites
ATTENTION: Once the module is secured and mounted to the wall framing, the master door(s) must be kept OPEN until the installation is complete.
FAILURE TO DO SO WILL REQUIRE ACCESS TO THE SLIDING LATCH ACCESS HOLE AT THE FRONT BOTTOM OF THE MODULE IN ORDER TO RE-OPEN THE DOOR(S).
- 1With the module on its back, insert a screwdriver into the sliding latch access hole at the front bottom of the module and push in on the sliding latch to release the master door(s).
- 2 The master door(s) can now be opened to gain access to the mounting screw holes/slots for installation.
- " Do not close the front master door(s) until installation is complete."
- 3Carefully stand the module to the upright position, while ensuring the master door(s) remain open.
- 4Remove all hardware located inside the module and set aside.
- 5Place the rear-loading module in the opening until the integrated trim is flush with the wall board.
- 6Refer to "Individual Installation" (p. 18) or "Multiple Installation" (p. 22), as appropriate, and proceed with installation.
IMPORTANT: When installation is complete, make sure you have removed all hardware located inside the module before closing the door(s).
REAR-LOADING MODULE INSTALLATION

PARCEL-ONLY MODULE INSTALLATION
versatile™ 4C mailbox suites
- 1While looking at the back of the module, slide and hold the sliding latch up past the latch hook.
- 2 The master door can now be opened to gain access to the mounting screw holes/slots for installation.
- " Do not close the front master door(s) until installation is complete.
- 3Remove all hardware located inside the module and set aside.
- 4Place the parcel-only module in the opening until the integrated trim is flush with the wall board..
- 5Refer to "Individual Installation" (p. 18) or "Multiple Installation" (p. 22), as appropriate, and proceed with installation.
- After fastening the parcel-only module into the opening:
- 6Close the master door.
- 7Open the parcel doors using the parcel door keys included with the hardware.
- 8Install all slide lock(s) (64256) and secure with #10-32 x 3/8" one-way screw(s) (84994) in each parcel locker in the module.
IMPORTANT: When installation is complete, make sure you have removed all hardware located inside the module before closing the door(s).
PARCEL-ONLY MODULE INSTALLATION

COLLECTION BOX MODULE INSTALLATION
versatile™ 4C mailbox suites
- 1While looking at the back of the collection box module, slide and hold the sliding latch up past the latch hook.
- 2The master door can now be opened to gain access to the mounting screw holes/slots for installation.
- " Do not close the front master door(s) until installation is complete.
- 3Remove all hardware located inside the module and set aside.
- 4Place the collection box module in the opening until the integrated trim is flush with the wall board.
- 5Refer to "Individual Installation" (p. 20) or "Multiple Installation" (p. 22), as appropriate, and proceed with installation..
IMPORTANT: When installation is complete, make sure you have removed all hardware located inside the module before closing the door(s).
COLLECTION BOX MODULE INSTALLATION

TRASH/RECYCLING BIN MODULE INSTALLATION
versatile™ 4C mailbox suites
- 1For Double-Wide Florence 4C Modules:
- A.Open the right master door until the hold open arm engages and install the included #8 x 2" pan-head T20 Torx wood screws (64225) along the right-hand outer frame.
- B.Partially open the left master door until the right master door can be completely closed.
- c.Open the left master door until the hold open arm engages and install the included #8 x 2" pan-head T20 Torx wood screws (64225) along the left-hand outer frame.
- d.With both the left and right master doors open and hold open arms engaged, install the included #8 x 2" pan-head T20 Torx wood screws (64225) along the top and bottom frame.
- Overtightening beyond initial contact with frame could hinder functionality.
- If overtightening occurs, simply back out each overtightened mounting screw.
IMPORTANT: When installation is complete, make sure you have removed all hardware located inside the module before closing the door(s).
TRASH/RECYCLING BIN MODULE INSTALLATION

INDIVIDUAL INSTALLATION
versatile™ 4C mailbox suites
- When installing a rear-loading module, parcel-only module, collection box module, or trash/recycling bin, you may ignore all references to hold open arm(s) in the remainder of the text.
- 1For Double-Wide Florence 4C Modules:
- A.Open the right master door until the hold open arm engages and install the included #8 x 2" pan-head T20 Torx wood screws (64225) along the right-hand outer frame.
- B.Partially open the left master door until the right master door can be completely closed.
- c.Open the left master door until the hold open arm engages and install the included #8 x 2" pan-head T20 Torx wood screws (64225) along the left-hand outer frame.
- d.With both the left and right master doors open and hold open arms engaged, install the included #8 x 2" pan-head T20 Torx wood screws (64225) along the top and bottom frame.
- Overtightening beyond initial contact with frame could hinder functionality.
- If overtightening occurs, simply back out each overtightened mounting screw.
INDIVIDUAL INSTALLATION

INDIVIDUAL INSTALLATION (cont.)
versatile™ 4C mailbox suites
- 1For Single-Wide Florence 4C Modules:
-
A.Open the master door until the hold open arm engages
- Collection Box module:
- Remove the tape that secured the hopper for shipping, allowing the hopper to drop down out of the way to gain access to the mounting screw locations.
- Collection Box module:
- B.Install the included #8 x 2" pan-head T20 Torx wood screws (64225) along both the left- and right-hand outer frame.
-
c.With the master door open and hold open arm engaged, install the included #8 x 2"
pan-head T20 Torx wood screws (64225) along the top and bottom frame.
- 1). Parcel-only module -- Return to p. 12, Step 6 to complete the installation.
- 2). Collection box module -- Go to p. 32 to install the hopper door handle.
-
A.Open the master door until the hold open arm engages
- Overtightening beyond initial contact with frame could hinder functionality.
- If overtightening occurs, simply back out each overtightened mounting screw.
INDIVIDUAL INSTALLATION (cont.)

MULTIPLE INSTALLATION USING FLORENCE'S EXCLUSIVE MULTI-UNIT CONNECTOR KIT
versatile™ 4C mailbox suites
- When installing a rear-loading module, parcel-only module, collection box module, or trash/recycling bin, you may ignore all references to hold open arm(s) in the remainder of the text.
- 1Place the first module at the right-hand side of the rough opening until the integrated trim is flush with the wall board.
- 2Open the master door(s) until the hold open arm(s) engage(s).
- Collection Box module:
- Remove the tape that secured the hopper for shipping, allowing the hopper to drop down out of the way to gain access to the mounting screw locations (see p. 21).
- Collection Box module:
- 3Install the included #8 x 2" pan-head T20 Torx wood screws (64225) along the right-hand outer frame.
- 4Install the included #8 x 2" pan-head T20 Torx wood screws (64225) along the top and
bottom frame.
- 1). Parcel-only module -- Return to p. 12, Step 6 to complete the installation before going on to Step 5.
- 2). Collection box module -- Go to p. 32 to install the hopper door handle before going on to Step 5.
- Overtightening beyond initial contact with frame could hinder functionality.
- If overtightening occurs, simply back out each overtightened mounting screw.
MULTIPLE INSTALLATION USING FLORENCE'S EXCLUSIVE MULTI-UNIT CONNECTOR KIT

MULTIPLE INSTALLATION USING FLORENCE'S EXCLUSIVE MULTI-UNIT CONNECTOR KIT (cont.)
versatile™ 4C mailbox suites
- 5Fasten the multi-unit connector to the module using the included #8-32 x 1/2" button-head 151P Torx+ screws (91123).
- 6Place the next module in the opening until the integrated trim is flush with the wall board. Slide the module to the right until the trim is against the previously installed unit.
- 7Install the included #8-32 x 1/2" button-head 151P Torx+ screws (91123) along the righthand outer frame.
- Overtightening beyond initial contact with frame could hinder functionality.
- If overtightening occurs, simply back out each overtightened mounting screw.
MULTIPLE INSTALLATION USING FLORENCE'S EXCLUSIVE MULTI-UNIT CONNECTOR KIT (cont.)

MULTIPLE INSTALLATION USING FLORENCE'S EXCLUSIVE MULTI-UNIT CONNECTOR KIT (cont.)
versatile™ 4C mailbox suites
- 8Open the master door(s) until the hold open arm engages and install the included #8 x 2" pan-head T20 Torx wood screws (64225) along the top and bottom frame.
- 9Repeat steps 4 - 8 for any additional modules that will be mounted to a multi-unit connector, otherwise proceed to Step 10.
- 10Install the included #8 x 2" pan-head T20 Torx wood screws (64225) along the left-hand outer frame.
- Overtightening beyond initial contact with frame could hinder functionality.
- If overtightening occurs, simply back out each overtightened mounting screw.
MULTIPLE INSTALLATION USING FLORENCE'S EXCLUSIVE MULTI-UNIT CONNECTOR KIT (cont.)

MASTER DOOR ARROW LOCK INSTALLATION
(FRONT-LOADING ONLY)
versatile™ 4C mailbox suites
- Contact your local Post Office to arrange acquisition and installation of Arrow lock.
- If field installation is required, use the Postal to Private Conversion Kit (CK25750).
- 1Insert the Arrow lock into the Arrow lock bolster bracket (64782).
- 2With the collection door open, slide the Arrow lock bolster bracket (64782) with the Arrow lock onto the collection door bolts.
- 3Install the lock support plate (92303) as oriented in the illustration.
- 4Install five (5) #10-32 lock nuts (86091).
- The nuts should be tightened to ensure a snug fit.
- Over-tightening may keep the Arrow lock from operating correctly.
MASTER DOOR ARROW LOCK INSTALLATION (FRONT-LOADING ONLY)

PARCEL ARROW LOCK INSTALLATION
(FRONT AND REAR LOADING)
versatile™ 4C mailbox suites
- Contact your local post office to arrange acquisition and installation of Arrow lock.
- If field installation is required, use the Postal to Private Conversion Kit (CK25750).
- 1Open the parcel door and turn the key to place the parcel door
customer lock in the locked position.
- The parcel door customer lock must be in the locked position for the key to be removed.
- 2Slide the parcel door lock stiffener (64042) onto the parcel door bolts as oriented in the illustration.
- 3Install the Arrow lock as shown using four (4) #10-32 thin lock nuts (86455).
- The nuts should be tightened to ensure a snug fit.
- Over-tightening may keep the Arrow lock from operating correctly.
- 4Install the parcel door Arrow lock cover (64216) using two (2) #10-32 x 5/16" button-head
McGard security screws (84993).
- These screws require a McGard Screwdriver (see tool information on p. 7).
PARCEL DOOR ARROW LOCK INSTALLATION (FRONT AND REAR LOADING)

INSTALLATION OF COLLECTION BOX
HOPPER DOOR HANDLE
versatile™ 4C mailbox suites
- 1Make sure the hopper door is in the upright closed position and the collection door is open. Close the master door.
- 2Push up on the hopper from underneath to lift it into the operating position, and let it rotate forward.
- Both the hopper and hopper door should open.
- 3Align the hopper handle with the handle holes through the hopper and hopper door, and install two (2) 1/4-20 x 3/4" one-way screws (65884) through the holes into the handle. (Loosely tighten only, at this time.)
- 4With the hopper open, install three (3) #10-32 x 0.375" flat head Phillips screws (65887) through the hopper bottom and the bottom of the hopper door and secure using three (3) #10-32 thin lock nuts (86455). (Loosely tighten only, at this time.)
- 5Verify that the hopper door opens and closes freely.
- The hopper door should close by itself from the open position when the handle is released. (Adjust as necessary.)
- 6Tighten all screws and nuts from Steps 3 and 4.
INSTALLATION OF COLLECTION BOX HOPPER DOOR HANDLE

INSTALLATION OF COLLECTION DOOR ARROW LOCK
(APPLICABLE IF SERVICED BY USPS)
versatile™ 4C mailbox suites
SPECIAL NOTE FOR USPS PERSONNEL ONLY
A "Y" style Arrow lock (USPS-Mail Equipment Shop Part Number PSIN 1035-Y Arrow lock) is required to install and service the lock cover on Florence versatile" 4C Collection Box Modules.
The PSIN 1035-Y Arrow lock is available only to USPS personnel by faxing an eBUY request to:

- 1Insert the PSIN 1035-Y Arrow lock into the lock support bracket (65893).
- 2With the collection door open, move the lock linkage aside and slide the lock support bracket asembly (65893), with the PSIN 1035-Y Arrow lock, onto the collection door bolts.
- 3Secure the Arrow lock to the collection door using four (4) #10-32 lock nuts (86091).
- The nuts should be tightened to ensure a snug fit.
- Over-tightening may keep the Arrow lock from operating correctly.
- 4Install the lock link cam onto the Arrow lock using the washer and screw supplied in the
PSIN 1035-Y Arrow lock kit. (Discard the cam plate that came with the kit.)
- The screw should be tightened to ensure a snug fit.
- Over-tightening may keep the Arrow lock from operating correctly.
- 5Verify that the hopper door opens and closes freely.
- The hopper door should close by itself from the open position when the handle is released. (Adjust as necessary.)
- 6Tighten all screws and nuts from Steps 3 and 4.
- If field installation is required, use the Postal to Private Conversion Kit (CK25750).
INSTALLATION OF COLLECTION DOOR ARROW LOCK
